Washbasin
|
|
|||
|---|---|---|---|
| CMM 25-40-42 | |||
| Item | Bezeichnung | P/N | Menge |
| 125 | Screw drive | MS21318-15 | |
| 130 | Pin hinge | 9341217-7 | |
| 135 | Spring Handlager Fach 86 |
9361031-1 | |
|
|
|||
|---|---|---|---|
| CMM 25-40-42 | |||
| Item | Bezeichnung | P/N | Menge |
| 75 | Shaft paper roll | 9341201-5 | |
Door
|
|
|||
|---|---|---|---|
| CMM 25-40-42 | |||
| Item | Bezeichnung | P/N | Menge |
| 190 | Screw | XXXX | |
| 195 | Washer | NAS620-2 | |
| 200 | Nut | MS21042-02 | |
| 205A | Switch | M8805-109-01 | |
|
|
|||
|---|---|---|---|
| CMM 25-40-42 | |||
| Item | Bezeichnung | P/N | Menge |
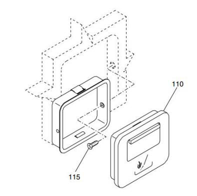
| 110 | Ashray | CDSP3900-1 | |
|
|
|||
|---|---|---|---|
| CMM 25-40-42 | |||
| Item | Bezeichnung | P/N | Menge |
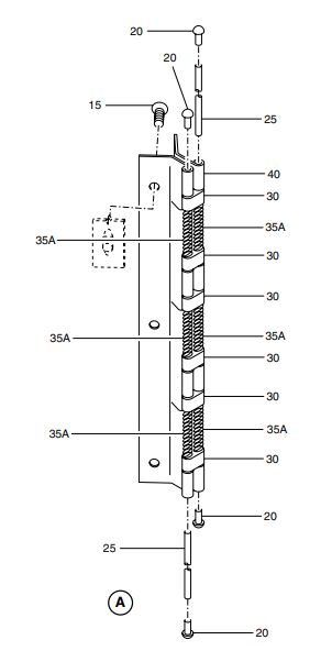
| Hinge assy | 9341238-501 | ||
| 20 | Screw drive | MS21318-14 | |
| 25 | Pin hinge | MS20253-2-610 | |
| 30 | Linkage | 9341266-1 | |
| 35A | Spring Handlager Fach 93 |
9341240-1 | |
Toilet
|
|
|||
|---|---|---|---|
| CMM 25-40-42 | |||
| Item | Bezeichnung | P/N | Menge |
| 145A | Seat | XXXX | |
|
|
|||
|---|---|---|---|
| CMM 38-35-04 | |||
| Item | Bezeichnung | P/N | Menge |
| 190 | Motor pump assy | 14352-014 | |
| 215 | Grommet | 4812-15 | 6 |