Test
CRJ
IPC
25
xx
|
|
CMM 25-40-42 |
|
|
| 125 |
Screw drive |
MS21318-15 |
|
| 130 |
Pin hinge |
9341217-7 |
|
| 135 |
Spring Handlager Fach 86 |
9361031-1 |
|
|
|
CMM 25-40-42 |
|
|
| 75 |
Shaft paper roll |
9341201-5 |
|
| |
|
|
|
| |
|
|
|
|
|
CMM 25-40-42 |
|
|
| 190 |
Screw |
XXXX |
|
| 195 |
Washer |
NAS620-2 |
|
| 200 |
Nut |
MS21042-02 |
|
| 205A |
Switch |
M8805-109-01 |
|
|
|
CMM 25-40-42 |
|
|
| 145A |
Seat |
XXXX |
|
|
|
CMM 25-40-42 |
|
|
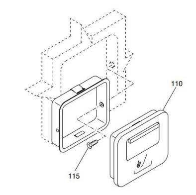
| 110 |
Ashray |
CDSP3900-1 |
|
|
|
CMM 25-40-42 |
|
|
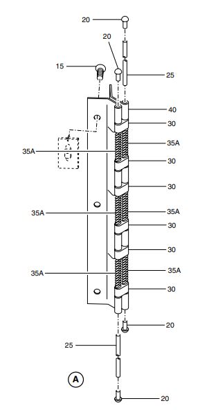
| |
Hinge assy |
9341238-501 |
|
| 20 |
Screw drive |
MS21318-14 |
|
| 25 |
Pin hinge |
MS20253-2-610 |
|
| 30 |
Linkage |
9341266-1 |
|
| 35A |
Spring Handlager Fach 93 |
9341240-1 |
|
| |
|
|
|
|
|
CMM 38-35-04 |
|
|
| 190 |
Motor pump assy |
14352-014 |
|
| 215 |
Grommet |
4812-15 |
6 |